
Название продукта: 4-слойная печатная плата Rigid-Flex
Подложка: FR4 + PI
Слой: Rigid 2L + Flex 2L
Толщина меди: 1 унция (35 мкм)
Готовая толщина: 0,6 мм
Покрытие поверхности: Иммерсионное золото
Толщина золота: 2 мкм"
Минимальная ширина линии/интервал между линиями: 4/4 мил
Минимальная диафрагма: 0,2 мм
Применение продукта: Дисплей, сенсорный экран
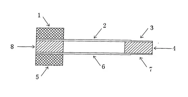
4-слойная конструкция укладки жестких гибких печатных плат включает в себя двухслойную гибкую печатную плату, золотой выступ, расположенный на одном конце гибкой печатной платы, два слоя жестких печатных плат, соответственно, расположенных на внешней стороне другого конца гибкой печатной платы, FR4 между двусторонними золотыми выступами на другом конце гибкой печатной платы. торцевая сторона двухслойной гибкой печатной платы и FR4 между двумя слоями гибких печатных плат на жесткой печатной плате. Область между двухслойными гибкими печатными платами в середине двух FR4 является полой, которая представляет собой слоистую структуру FPC. Такая структура придает золотым пальцам гибкой печатной платы определенную толщину и обеспечивает высокую жесткость, в то время как средняя часть гибкой печатной платы, соединяющая жесткую плату, обладает хорошей гибкостью. Вся эта конструкция позволяет многократно вставлять и вынимать "золотые пальцы" гибкой печатной платы, а также обеспечивает хорошую гибкость средней части гибкой платы, соединяющей твердую плату. Электрическое соединение всего изделия при сохранении изгибных характеристик средней части FPC.
В современной конструкции печатных плат Rigid-Flex имеется множество гибких соединений печатных плат с золотыми контактами. В этой конструкции некоторые FPC обладают хорошей гибкостью, но золотые выступы FPC слишком мягкие, что не способствует многократному вставлению и извлечению. Некоторые золотые выступы на концах основания FPC обладают жесткостью и их легко подключать и отключать, но подключенный FPC недостаточно гибкий, что затрудняет работу устройства. золотые "пальцы" гибкой печатной платы можно подключать и отсоединять несколько раз, что влияет на эффект подключения и отсоединения.
В частности, конструктивный дизайн 4-слойной печатной платы Rigid-Flex включает в себя:
1. Двухслойная гибкая печатная плата: Это основная часть печатной платы Rigid-Flex, которая оснащена золотыми пальцами и двумя слоями жесткой печатной платы
2. Золотой палец: расположен на одном конце гибкой печатной платы, используется для электрического соединения с другими электронными компонентами
3. Два слоя жестких печатных плат: расположены на внешней стороне другого конца гибкой печатной платы, служат в качестве входного и выходного интерфейсов для печатной платы
4. FR4: FR4 между двусторонними золотыми накладками на торцевой стороне двухслойной гибкой печатной платы и FR4 между двумя слоями гибкой печатной платы на жесткой печатной плате
5. Слоистая структура FPC: Область между двухслойной гибкой печатной платой в середине двух блоков FR4 является полой, образуя слоистую структуру гибкой печатной платы. Такая конструктивная схема придает золотым пальцам гибкой печатной платы определенную толщину, сохраняя высокую жесткость, в то время как средняя часть гибкой печатной платы, соединяющая твердую плату, обладает хорошей гибкостью.

4-слойный монтаж печатных плат с жестким изгибом
Данная конструктивная схема может соответствовать следующим требованиям:
1. Обеспечьте многократную установку и извлечение гибких печатных плат gold fingers
2. Обеспечьте электрическое подключение всего изделия
3. Сохраняйте прочность на изгиб средней части гибкого печатного платы.
Эта 4-слойная конструкция укладки печатных плат из жесткого гибкого материала не только обеспечивает высокую производительность, надежность и высокую степень интеграции печатной платы, но и обеспечивает технологичность и ремонтопригодность изделия.
Название продукта: 4-слойная печатная плата Rigid-Flex
Подложка: FR4 + PI
Слой: Rigid 2L + Flex 2L
Толщина меди: 1 унция (35 мкм)
Готовая толщина: 0,6 мм
Покрытие поверхности: Иммерсионное золото
Толщина золота: 2 мкм"
Минимальная ширина линии/интервал между линиями: 4/4 мил
Минимальная диафрагма: 0,2 мм
Применение продукта: Дисплей, сенсорный экран
iPCB Circuit обеспечивает поддержку проектирования печатных плат, технологии изготовления печатных плат и сборки PCBA. Вы можете запросить техническую консультацию или расценки на печатные платы и PCBA здесь, пожалуйста, свяжитесь с нами по электронной почте: sales@ipcb.com
Мы ответим очень быстро.